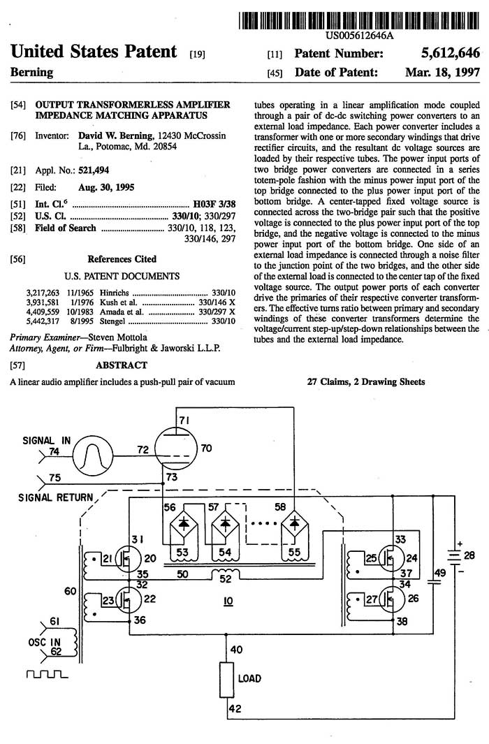
----- backtrace -----
/ht/davidberning.com/www/webroot/   index.bdc   @ 16   called   :: require()
/ht/davidberning.com/www/bdc/   _site_config.inc   @ 395   called   :: require()
/htdocs/davidberning.com/www/bdc/   index2.inc   @ 116   called   BDC\Sessions4_M :: startSession()
/ht/SHARED/bdc/   Sessions4_M.inc   @ 109   called   :: bt()
----- end backtrace -----


Warning: Cannot modify header information - headers already sent by (output started at /htdocs/SHARED/bdc/auto_prepend.inc:694) in /ht/SHARED/bdc/Sessions4_M.inc on line 121

Welcome to davidberning.com

To use this website, cookies must be enabled in your browser and working correctly.

You may see this message once, possibly after browsing this website for the first time or after clearing your browser's cookies.

But if this message persists, it means that your browser or firewall is blocking cookies (or redirects).

You must enable / unblock cookies to proceed.

More information on cookies.

10 failures. We tried using the standard cookie mechanism four times before displaying this message. If you reach 20 failures, further attempts will be temporarily blocked.

HttpHeaders sent by Browser to Server (initial request):

Hostdev.davidberning.com
User-AgentMozilla/5.0 AppleWebKit/537.36 (KHTML, like Gecko; compatible; ClaudeBot/1.0; +claudebot@anthropic.com)
Accept*/*
Accept-Encodinggzip, br, zstd, deflate
X-Forwarded-Hostdev.davidberning.com
X-Forwarded-Port443
X-Forwarded-Protohttps
X-Forwarded-Servercb8e84e0a9a5
X-Real-Ip216.73.216.25

HttpHeaders List - Sent by Server to Browser (response):

0Content-type: text/html; charset=UTF-8

COOKIES known by Server: