The David Berning Company

TF-10 Preamplifier

TF-10 Reviews

J. Gordon Holt, Stereophile Magazine, May 1979

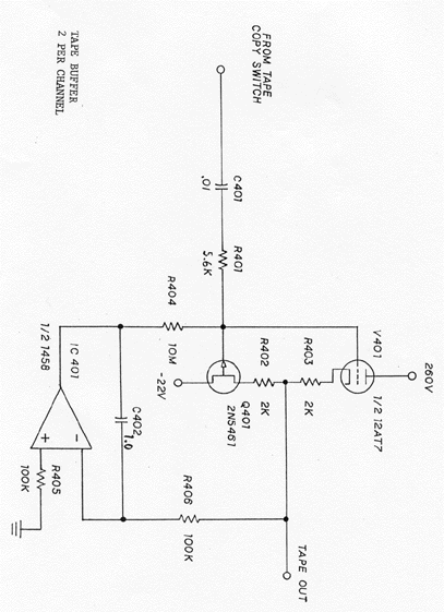
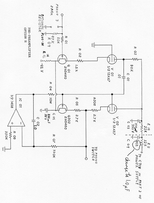
" The thing that makes the TF-10 unique is its hybrid amplifying circuitry. Each amplifying stage consists of a triode tube and an FET in what David Berning describes rather evasively as a "patented special complementary arrangement." The basic idea behind this is that the tandem hookup of a tube and an FET having complementary distortion characteristics will tend to cancel out the distortion from each device. The entire TF-10 preamplifier uses minimal negative feedback, and this is local feedback only. No loop feedback is used -- at all --thus eliminating any possibility of instability or of any of those kinds of distortion (such as TIM and SID) that relate to feedback. The phono equalization, too, is entirely passive, to minimize any interaction between the equalization circuitry and the electrical characteristics of the cartridge.

"Measurements showed that the frequency response of the high-level section was flat from 10Hz to beyond 200kHz (within 0.1dB) and that the RIAA equalization was accurate to within 0.2dB from 30Hz to 15kHz (which is the limit of the range specified by the RIAA standard). This is the highest RIAA-equalization accuracy we have ever encountered in a preamp, but when one considers the fact that designer David Berning works for the US Bureau of Standards, it seems somehow less surprising that this should be so. As a result, our bypass tests (using tape as a source) revealed no audible difference whatsoever between the signal going directly to the power amplifier and that passing through the entire preamp.

"Let it first be said that this is unquestionably the most listenable wideband preamplifier that we have auditioned to date. It seems to be entirely free from any sonic texturing, producing the most liquidly transparent sound we have ever heard from discs. ... Hard transients -- those producing the fastest rise times -- are reproduced with incredible sharpness, yet there is no trace of that irritating edginess at the top which has characterized every other preamplifier having comparable rise time. ... The TF-10 is an unprecedented amalgam of quickness and accuracy with musicality.

"The high end is open, delicate and downright exquisite, sounding as if it has no upper limit. Instrumental timbres are reproduced flawlessly, without a trace of hardness or edginess, and depth, detail and inner definition are for all intents and purposes indistinguishable from that Of the original program source. The low end is full and rich, yet as taut and detailed as the best we have heard from all-solid-state preamplifiers, and the entire middle range has that textureless liquidity we have only heard previously from tubed preamplifiers that fell short in various other ways. In other words, this is now the preamplifier by which others must be judged."

TF-10 Support

For units set up for 240 volts, a 50 ohm-10W resistor is inserted in line with the incoming mains power.

CAUTION: Dangerous voltages are present inside the TF-10. Servicing should only be attempted by those experienced in working on equipment containing high voltages. A large portion of the power supply is not isolated from the power mains. An isolation transformer must be used if voltage readings are taken in these power supply areas. Power supply voltages on the secondary side of the power transformer and in the audio portions can be measured without an isolation transformer.

The power supply is configured as a two-stage switcher with a buck type regulator Q1 thru Q7, follower by a power inverter Q8-Q9. If the line fuse blows after a period of time, it is possible that the regulator has failed and excessive voltage is being delivered to the audio circuits. The filament supply should be around 21 volts, if much higher the regulator has likely failed.

Failure-prone parts: Q7, Q8 and Q9. D710 (replace only with fast recovery 600 volt type) When replacing power transistors be careful that they are properly seated in their sockets and the insulating bushings are aligned to prevent case to ground shorts. Audio: All 2N5461 FETs can cause excessive noise or dc offset if shorted, resulting in loud pops when switches are operated.

© 1974-2026   The David Berning Company     CRM     Milbert     TubeData