EA-230 Power Amplifier
An all-tube dual-30-watt power amplifier. Dimensions: 19 in. W (standard rack mount) by 5-1/4 in. H by 8-1/2 in. D. Power consumption: 60 to 160 watts. Frequency response: 5Hz to 60kHz, +0, -3dB. Output impedances: Strap-selected 4, 8, or 16 ohms. Main-loop feedback: 6dB. Price: $990 list.
January, 2013 "...this amp [still] really flies..."
An upgrade to automatic bias is available for the EA-230. Contact us for details.
A 12-volt battery-powered mobile version of the EA-230, known as the Liquid is available. Also available since 1986 is the BaM-235ab mobile tube amplifier, originally based on the EA-230.

EA-230 Reviews
Tube amplifier. Screen drive technology.
EA-230 reviewed by Stereophile Magazine, vol. 5, no. 1
"Like Berning's TF-10 preamp, the EA-230 is almost perfectly neutral in perspective, having neither the forwardness of typical tubed equipment nor the slightly laid-back character of good solid-state amplifiers. Because of this, it avoids one of our major criticisms of most audiophile-type audio systems: Their tendency to sound recessed and more distant than most recordings are supposed to sound... In other words, this is THE amplifier of choice for driving electrostatics. ...the EA-230 has finally unseated our long-time favorite power-amp: The Infinity HCA. ... We just never expected the massive, 80-pound HCA to be outperformed by a pair of relatively-diminutive 28-pounders."
EA-230 Support
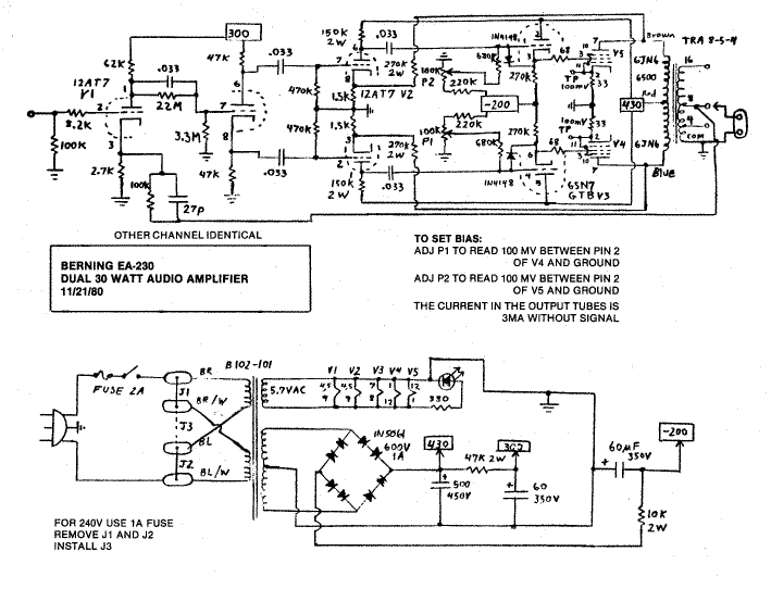
Dangerous voltages are present in the EA-230. Repairs and biasing should not be attempted by those not familiar with servicing equipment containing high voltages.
Failure-prone parts, order to check: 10 K-2W resistor on power supply, 100K trim pots (can be intermittent, causing failure of output tube), 220K resistor connected to trim pot, 270K cathode resistor on 6SN7, Output tubes, 33 ohm cathode resistors on output tubes, 1N4148 diode grid to cathode on 6SN7, Main power supply capacitor (540uF at 450 V), 270K-2W resistor on plate of output tube, also takes out 1.5K cathode resistor on 12AT7 (V2). Failed 1N4148 diode can indicate arc-over in 6SN7. Burned 33 ohm cathode resistor can indicate failure of output tube or 6SN7 driver. Bias set-up: 100 mV measured between large metal area under each output tube and ground (speaker post). CAUTION-a long insulated probe must be used.

|
© 1974-2026 The David Berning Company
|
| |